
Se LM258 IC: tä on vaalittu monipuolisuudestaan kaksoisoperaatiovahvistimena (OP-AMP), jolle on tunnusomaista sen suuri vahvistus ja sisäinen taajuuskorvaus.Tällä komponentilla on erityinen paikka yhden virransyöttösovellusten valtakunnassa, joka toimii saumattomasti jännitteillä.Sen vaikutusvaltaiset piirteet käsittävät korkean tasavirran (DC) jännitteenvahvistuksen, laajan kaistanleveyden ja kyvyn sisällyttää maa tulon yhteisen moodin jännitteisiin, mikä mahdollistaa huomattavan lähtöjännitteen kääntymisen.Tällaiset ominaisuudet tekevät siitä välttämättömän DC -vahvistuslohkoissa, anturivahvistimissa ja yksittäisissä virtalähdepiirissä, joissa se toimii luotettavasti jopa standardi 3,3 V: n syöttölaitteella, jota yleisesti löytyy digitaalisissa järjestelmissä.LM258: n merkittävien ominaisuuksien joukossa on sen korkea tasajännitevahvistus, mikä varmistaa, että minimaaliset tulosignaalit suurennetaan hyödylliselle tasolle.Sen tarjoama laaja kaistanleveys tukee monenlaisia taajuussovelluksia, jotka sopivat lukemattomiin elektronisiin projekteihin.Maapallon integrointi Yhteisen moodin jännitteisiin yksinkertaistaa suunnittelua ja parantaa joustavuutta, jota arvostetaan voimakkaasti monimutkaisissa piirissä.
Olla LM258P
Olla LM358P
Olla LM358APE4
Olla LM258NG
Olla LM2588-ADJMWC

|
NIMI |
LCCC (1) |
SOIC, SSOP, CDIP, PDIP, SO,
Tssop, CFP (1) |
I/O |
KUVAUS |
|
In1- |
5 |
2 |
Minä |
Negatiivinen tulo |
|
IN1+ |
7 |
3 |
Minä |
Positiivinen syöttö |
|
In2- |
15 |
6 |
Minä |
Negatiivinen tulo |
|
In2+ |
12 |
5 |
Minä |
Positiivinen syöttö |
|
Out1 |
2 |
1 |
N |
Tulos |
|
OUT2 |
17 |
7 |
N |
Tulos |
|
V- |
4 |
4 |
- |
Negatiivinen (alhaisin) tarjonta tai maa (yhden varjon varten
toiminta) |
|
NC |
1, 3, 4, 6, 8, 9, 11, 13, 14, 16, 18, 19 |
- |
- |
Ei sisäistä yhteyttä |
|
V+ |
20 |
8 |
- |
Positiivinen (korkein) tarjonta |



Merkittävä yhden syöttöjännitealue välillä +3,0 V - +32 V ja kaksoishyökkäys ± 16 V tarjoaa toiminnallisen monipuolisuuden.Tämä tekee LM258: n mukautuvasta sovelluksista, jotka vaihtelevat kannettavista laitteista vankkoihin teollisuusjärjestelmiin.Voit hyödyntää tätä joustavaa jännitealuetta sekä akkukäyttöisille että virrankulmasta riippuvaisille järjestelmille.
Matala meluhäiriö parantaa tietyissä sovelluksissa vaadittavaa tarkkuutta ja herkkyyttä.Äänenkäsittely- ja anturin signaalin ilmastointia parannetaan huomattavasti vähentyneellä kohinalla, mikä vahvistaa lähtösignaalien selkeyttä ja tarkkuutta.Käytännön sovelluksen avulla havaitaan, että melun lisääminen järjestelmän suorituskyvyn minimointi, etenkin ympäristöissä, joissa signaalin eheysvaatimukset ovat tiukat.
LM258 palvelee 1 MHz: n kaistanleveydellä sovelluksia, jotka vaativat maltillista nopeuden signaalinkäsittelyä.Tämä varmistaa luotettavan suorituskyvyn analogisissa digitaalisissa muuntojärjestelmissä, tiedonkeruu- ja muissa signaalin modulaatiotehtävissä.Tehokas kaistanleveyden hallinta on hienoa järjestelmän nopeuden saavuttamiseksi ja monimutkaisten signaalinvaihteluiden ratkaisemiseksi.
Huomattavan alhainen syöttövirta 500µA tekee LM258: sta erittäin tehokkaan, mikä sopii akkukäyttöisiin laitteisiin ja energiaherkäihin sovelluksiin.Vähentynyt syöttövirta johtaa pienemmäksi virrankulutukseksi, joka edistää pidennettyyn akun kesto- ja kestävämpiin järjestelmäsuunnitelmiin, mikä vastaa nykyaikaisen painotuksen energiatehokkaan elektroniikan kanssa.
LM258 toimii tehokkaasti lämpötila -alueella -25 ° C -85 ° C, ja se toimii jatkuvasti vaihtelevissa ympäristöolosuhteissa.Tämä laaja lämpötila -alue tukee sekä elektroniikkaa ohjattavissa asetuksissa että teollisuussovelluksissa ankarammissa ympäristöissä varmistaen laitteen luotettavuuden ja pitkäikäisyyden.
830MW: n virran hajoamisella LM258 voi toimia ilman ylikuumenemista stabiilisuuden ylläpitämiseksi ja muiden komponenttien suojaamiseksi.Tehokas lämmönhallinta on hyvä pitkittyneelle operatiiviselle eheydelle, mikä tekee LM258: sta luotettava valinta lämpöherkkyyteen.LM258: n sisältämällä nämä ominaisuudet erottuu tehokkaasta, monipuolisesta operatiivisesta vahvistimesta, joka tarjoaa etuja useissa sovelluksissa.Täydellisen potentiaalin hyödyntäminen vaatii sen eritelmien syvää ymmärrystä ja taitavaa hallintaa, rikastuttaen innovatiivisten elektronisten ratkaisujen harjoittamista.
Texas Instruments LM258: n tekniset eritelmät, ominaisuudet ja parametrit sekä osat, joilla on samanlaiset tekniset tiedot kuin Texas Instruments LM258P.
|
Tyyppi |
Parametri |
|
Elinkaaren tila |
Aktiivinen (viimeksi päivitetty: 2 päivää sitten) |
|
Asentaa |
Reiän läpi |
|
Paketti / kotelo |
8-DIP (0,300 ", 7,62 mm) |
|
Käyttölämpötila |
-25 ° C ~ 85 ° C |
|
JESD-609-koodi |
E3 |
|
Kosteuden herkkyystaso (MSL) |
1 (rajoittamaton) |
|
ECCN -koodi |
Ear99 |
|
Terminaalin sijainti |
Kaksois- |
|
Toimitusjännite |
5V |
|
Nastaluku |
8 |
|
Virtalähteet |
+1,5 ~+15/+3 ~ 30 V |
|
Toimitusvirta |
1MA |
|
Lähtövirta |
30maa |
|
Arkkitehtuuri |
Jännitepalaute |
|
Yleisen tilan hylkäämissuhde |
70 dB |
|
Jännite - syöttö, yksi/kaksois (±) |
3 V ~ 32 V/± 1,5 V ~ ± 16 V |
|
Syöttöjännite (VOS) |
5MV |
|
Jännitteenvapaus |
100 dB |
|
Matala |
EI |
|
Jännite - Syöttösiirto |
3MV |
|
Mikroportti |
EI |
|
Ohjelmoitava voima |
EI |
|
Tehtaan läpimenoaika |
6 viikkoa |
|
Asennustyyppi |
Reiän läpi |
|
Nastat |
8 |
|
Pakkaus |
Putki |
|
Osien tila |
Aktiivinen |
|
Päätteiden lukumäärä |
8 |
|
Terminaalipinta |
Matta tina (SN) |
|
Toimintojen lukumäärä |
2 |
|
Perusosanumero |
LM258 |
|
Toimitusjännite |
16 V |
|
Kanavien lukumäärä |
2 |
|
Nimellinen toimitusvirta |
1,2maa |
|
Läikkyä |
0,3 V/µs |
|
Vahvistintyyppi |
Yleinen tarkoitus |
|
Virta - tulopoikkeama |
20na |
|
Virta kanavaa kohti |
30maa |
|
Yhtenäisyysvoitto BW: NOM |
700 kHz |
|
Keskimääräinen puolueellisuusvirta-Max (BI) |
0,3 uA |
|
Taajuuskorvaus |
KYLLÄ |
|
Alhainen puolueellisuus |
EI |
|
Bias-virran max (bi) @25c |
0,15 µA |
|
Kaksoisjännite |
9V |


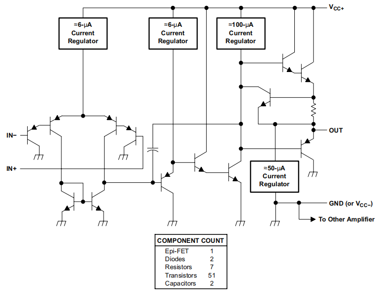
Syöttövaihe käsittää pääasiassa differentiaalivahvistimen.Tämä komponentti vahvistaa kahden signaalin välistä jänniteeroa hylkäämällä kaikki yhteisen tilan häiriöt.Yhdistettyjä transistoripareja käytetään usein, mikä varmistaa minimaalisen tulopoikkeaman virran ja siirtymäjännite.Tulovaiheen jälkeen välivaihe vahvistaa edelleen jännitettä.Tähän sisältyy yleensä ylimääräisten monistusvaiheiden, kuten yhteisen emitterin tai yhteisen peruskokoonpanon, käyttö.Nämä mallit parantavat voittoa lisäämättä virrankulutusta tai monimutkaisuutta.Käytännössä voiton ja kaistanleveyden tasapainottamista tarvitaan signaalin eheyden ylläpitämiseksi eri skenaarioissa.Lähtövaihe on suunniteltu tarjoamaan korkeat virran käyttöominaisuudet säilyttäen samalla vakauden eri kuormilla.Luokan AB -vahvistinkokoonpanoja käytetään alhaisen ristin vääristymisen ja korkean hyötysuhteen varmistamiseksi.Käytännöllinen takea on, että oikea lämmönhallinta voi pidentää laitteen pitkäikäisyyttä ja luotettavuutta.LM258 voi toimia joko yksittäisissä tai kaksoisvarusteisissa järjestelmissä, mikä lisää sen joustavuutta eri sovelluksiin.Esimerkiksi yhden varjon järjestelmät yksinkertaistavat suunnittelua ja vähentävät kustannuksia.Kaksoisvarustejärjestelmät tarjoavat laajemman dynaamisen alueen ja paremman lineaarisuuden.Yksinkertaisuuden ja suorituskyvyn välisten kompromissien arviointi edellyttää parhaan virtalähteen määrittämistä.



LM258 kattaa kaksi riippumatonta operatiivista vahvistinta (OP-AMPS):
• Se mahdollistaa käytön erilaisissa piireissä vahvistimena, vertailuna tai oskillaattorina.
• Tämä monipuolinen komponentti tukee laajaa valikoimaa elektronisia sovelluksia.
• Se toimii rakennuspalikana sekä analogisissa että digitaalisissa järjestelmissä.

Tutkitaan sen sovellusta, tutkitaan muuttamattoman vahvistimen perustamista yhdellä LM258: n op-vahvistimista:
• Kytke tulosignaali ei-invertoattomaan liittimeen positiivisen vaihesiirron saavuttamiseksi tulo- ja lähtösignaalien välillä.Valitsemalla huolellisesti vastusarvot, voit hallita vahvistimen vahvistusta.
Tarkastellaan esimerkiksi R1 = 100 ohmia ja R2 = 10 ohmia syöttöjännitteellä VI 20MV.Lähtöjännite VO voidaan laskea kaavalla:
![]()
Tämä johtaa 220 mV: n lähtöön, joka osoittaa OP-AMP: n tehokkuuden signaalin monistuksessa ja antaa sille voiman hengittää elämää ja selkeyttä signaaleihin heikkoihin ja heikentyneisiin.
LM258: lla on digitaalisessa ja analogisessa elektroniikassa olevassa linkinnässä kaksoisoperaatiovahvistimissa, jotka ovat erinomaisia suorituskyvyssä.Sen kyky työskennellä kaksoisvirtalähteiden kanssa Sans usein uudelleenkalibrointi tekee siitä luotettavan valinnan.Tämä saumaton integraatio varmistaa vähemmän seisokkeja ja vähemmän huoltokaivoja, mikä heijastaa erittäin paljon luotettavaa työhevosta elektronisissa piireissä.
LM258 todistaa sen kyvyn virransyöttöjärjestelmissä käsittelemällä jännitesäätöä, stabilointia ja virranohjausta tarkkuudella.Esimerkiksi suunnittelemattomien virtalähteiden (UPS) suunnittelussa sen rooli varmistaa tasaiset tuotokset järjestelmille, jotka luottavat keskeytymättömään toimintaan.
LM258 paistaa laajasti erilaisissa vahvistimen kokoonpanoissa sekä äänivahvistimissa että signaalin vahvistusprosesseissa.Se nostaa erittäin uskollisia äänilaitteita minimoimalla vääristymät ja parantamalla tarkkuutta, varmistaen syventävän äänen.
LM258: n adeptness ulottuu oskillaattoripiireihin, mikä tuottaa tarkkoja aaltomuodosignaaleja, jotka hyödyttävät viestintäjärjestelmiä ja signaalinkäsittelyyksiköitä.Sen tarjoama vakaa taajuuden tuotanto ja signaalin selkeys ovat olennaisia varmistamalla saumattoman viestinnän.
Kun sitä käytetään jännitekertailijana, LM258 on erinomainen päätöksentekopiirissä vertaamalla jännitteitä ja säätämällä lähtöä tarvittaessa.Automaatiojärjestelmät hyötyvät erityisesti tästä reaktiivisuudesta välittömiin toiminnan säätöihin.
Kotilaitteissa LM258 parantaa suorituskykyä ja luotettavuutta.Jääkaapit, pesukoneet ja ilmastointilaitteet integroivat tämän komponentin ohjaamaan ja seuraamaan toimintaparametreja tehokkaasti, mikä parantaa päivittäistä mukavuutta.
PLC: t saavat huomattavasti LM258: n sisällyttämisestä, joka auttaa tarkissa valvontatehtävissä.Sen vankka suorituskyky useissa olosuhteissa tekee siitä erittäin sopivan teollisuuden automaatioon varmistaen, että ohjaustehtävät suoritetaan luotettavasti.
Tarkkuus on hienoa mittausvälineiden mittaamisessa, ja LM258 ei petä.Sisältää volttimiehiin, ampuma -alueisiin ja erilaisiin anturi -rajapintayksiköihin, se varmistaa tarkkoja lukemia ja ylläpitää signaalin eheyttä millä tahansa mittaussovelluksella.

Dallasissa sijaitsevan Texas Instruments (TI) on puolijohdeteollisuuden monumentaalinen hahmo.Yrityksen tuotevalikoima korostaa vain analogisia siruja ja sulautettuja prosessoreita, vaan myös kattaa eri koulutus- ja digitaaliset prosessointitekniikat.Texas Instruments edustaa sekoitusta teknologisesta kehityksestä ja koulutusta koskevasta sitoutumisesta.Toimittamalla korkean suorituskyvyn analogiset sirut, sulautetut prosessorit ja uraauurtavat koulutustyökalut, Ti seisoo merkityksellisen teknisen etenemisen eturintamassa.Tämä kokonaisvaltainen lähestymistapa toimii mallina tekniikan innovaatioiden hyödyntämiselle sekä teollisuuden kasvun että koulutuksen kehittämisen edistämiseksi.
Materiaaliaset 30/maaliskuu 2017.pdf
LM158/LM258/LM358/LM2904 03/OCT/2018.PDF
Mult Dev A/T 22/heinäkuu/2021.pdf
Muottiyhdiste 24/helmikuu/2021.pdf
Sekä LM258 että LM358 ovat kaksoisoperaatiovahvistimia.Erottelu on niiden sovellusalueen ja ympäristöyhteensopivuuden suhteen.LM258 on teollisuusluokan komponentti, jolla on laajempi lämpötila-alue.Tämä tekee siitä sopivan vaativampiin ja muuttuviin toimintaympäristöihin varmistaen luotettavuuden monissa olosuhteissa.Tällaisia komponentteja suositellaan asetuksissa, joissa ympäristön lämpötila voi vaihdella huomattavasti.Toisaalta kaupalliseen luokkaan luokiteltu LM358 otetaan käyttöön ympäristöissä, joissa on suhteellisen stabiilit ja kohtalaiset lämpötilaolosuhteet.Käyttöympäristön huomioon ottaminen tarvitaan näiden kahden komponentin välillä valittaessa.
Vaikka LM258 on toiminnallinen vahvistin, LM393 toimii jännitekertailijana.Huolimatta LM258: n kyvystä suorittaa vertailutehtäviä, LM393 on suunniteltu erityisesti tätä tarkoitusta varten.LM393: n suunnittelu ja tarkka mekanismi johtaa usein tehokkaampiin ja tarkempiin vertailuihin.Tämä räätälöity suorituskyky on erittäin arvokas analogisissa signaalinkäsittelysovelluksissa.Muille on tärkeää valita komponentti, joka parhaiten palvelee piirin erityisvaatimuksia.
LM258 ja LM348 eroavat arkkitehtuureistaan.LM258 on kaksikanava toiminnallinen vahvistin, kun taas LM348 sisältää nelikanavaisen kokoonpanon.Tämä ero edellyttää olemassa olevan piirisuunnittelun perusteellista harkintaa korvaavan pohtimisen yhteydessä.Esimerkiksi LM348: n korvaaminen LM258: lla vaatisi kanavavaatimusten uudelleenarviointia.Mahdollisesti tämä vaatii uudelleensuunnittelua ja säätöä vähentyneen kanavan määrän sijoittamiseksi.Selkeys piirin operatiivisiin tarpeisiin ja rajoituksiin voi ohjata tietoisempaa päätöstä varmistaen, että lopputulos on edelleen tinkimätön.
Lähetä kysely, vastaamme heti.
22.10.2024
22.10.2024
18.04.8000 147758
18.04.2000 111960
18.04.1600 111349
18.04.0400 83726
01.01.1970 79512
01.01.1970 66930
01.01.1970 63078
01.01.1970 63019
01.01.1970 54086
01.01.1970 52159