




Se 88E1512 on erittäin mukautuva gigabitin Ethernet -lähetin -vastaanotin.Se tukee laajalti käytettyjä 1000Base-T-, 100Base-TX- ja 10-base-T-standardeja, mikä varmistaa tehokkaan tiedonsiirron.Tämä standardien monimuotoisuus antaa sille täyttää nykyaikaisten verkkojärjestelmien vaatimukset tarjoamalla luotettavuutta eri rajapintojen välillä.
Kun yhteydet ovat saatavana sekä GMII- että RGMII -rajapintojen kautta, lähetin -vastaanotin helpottaa sujuvaa integraatiota erilaisiin verkkoinfrastruktuureihin.Tämä kaksoisyhteensopivuus palvelee erilaisia verkkoarkkitehtuureja tarjoamalla sinulle joustavuuden, jota tarvitaan järjestelmän suorituskyvyn parantamiseen saumattomasti.Helppo sisällyttämistä olemassa oleviin järjestelmiin arvostetaan usein, mikä lisää sekä skaalautuvuutta että tehokkuutta.KUPPI-, FIBE- ja SGMII -muotojen tukeminen 88E1512 on valmis sopeutumaan moniin verkkoskenaarioihin.Ympäristöissä, joissa verkon vaatimukset vaihtelevat, tämä kyky voi olla enimmäkseen edullinen.Lähetin -vastaanottimen automaattinen mediatyypin havaitseminen vähentää asennusten monimutkaisuutta, virtaviivaistavan verkon hallintaa.
Integroidut MDI -lopetusvastukset ovat osa 88E1512: n tehokasta suunnittelua, yksinkertaistamalla piirien asetteluja ja alentamaan materiaaleihin ja valmistukseen liittyviä kustannuksia.Tämä huomaavainen muotoilu vastaa IEEE -standardeja, mikä varmistaa johdonmukaisen suorituskyvyn.Tällainen tehokkuus auttaa toimittamaan järjestelmiä, jotka ovat luotettavia, mutta suoraviivaisia käyttöönotolle.88E1512: n tarjoamaa tarkkuus- ja kustannushallintatasoa etsitään usein.Toimittamalla budjettirajoituksia kunnioittavia laaturatkaisuja, hankkeet voivat saavuttaa sekä kestävyyden että skaalautuvuuden.Tätä tasapainoa havaitaan yleisesti onnistuneissa toteutuksissa, mikä johtaa pitkäaikaista verkon etenemistä.
|
Ominaisuus |
Kuvaus |
|
IEEE -vaatimustenmukaisuus |
10/100/1000Base-T IEEE 802.3 yhteensopiva |
|
Useita käyttötapoja |
- rgmii kupariin |
|
- Sgmii to Copper (vain 88E1512/88E1514) |
|
|
- RGMII FIBE/SGMII (vain 88E1512) |
|
|
- RGMII- kuparin/kuitu/sgmii auto-media-havainnolla
(Vain 88e1512) |
|
|
- Kupari kuituun (1000Base-X) (88E1512/88E1514) |
|
|
RGMII -ajoitustilat |
Neljä RGMII -ajoitusmuotoa integroiduilla viivästyksillä,
Piirilevyn jäljityksen tarve |
|
Kuituliitäntätuki |
Tukee 1000Base-X: tä ja 100Base-FX: tä SGMII: llä (88E1512
vain) |
|
RGMII LVCMOS -standardit |
Tukee LVCMOS/0 RGMII: lla |
|
Energiatehokas Ethernet (EEE) |
IEEE 802.3AZ-2010 -yhteensopiva, EEE-puskurointiin
vanhat macit |
|
Virran tehokkuus |
Erittäin alhainen teho, integroidulla MDI-päätellä
vastukset |
|
Jännitesäätimet |
Integroidut kytkentäjännitesäätimet |
|
Green Ethernet -tuki |
- Aktiivinen virransäästötila |
|
- Energian havaitseminen ja energia havaitsee+ pienitehotilat |
|
|
IEEE1588 v2 |
Aikaleimatuki |
|
Synkroninen Ethernet (Synce) |
Kellon palautus |
|
Silmukkatilat |
Kolme diagnostista silmukkatapaa |
|
Alaspäin siirtotila |
Kaksipari-kaapelin asennusten tuki
|
|
Mukautuvat taajuuskorjaimet |
Täysin integroitu digitaaliset mukautuvat taajuuskorjaimet, kaiku
peruutukset ja Crosstalk -peruutukset |
|
Lähtötason vaelluskorjaus |
Edistynyt digitaalinen lähtötason vaelluskorjaus |
|
MDI/MDIX |
Automaattinen MDI/MDIX -crossover kaikilla nopeuksilla |
|
Polaarisuuden korjaus |
Automaattinen napaisuuskorjaus |
|
Automaattinen neuvottelu |
IEEE 802.3 yhteensopiva |
|
LED -tilat |
Ohjelmisto -ohjelmoitavat LED -tilat, mukaan lukien LED -testaus |
|
Hallintarajapinta |
MDC/XMDIO Management -rajapinta |
|
Diagnostiikkatyökalut |
CRC -tarkistus, pakettilaskuri, paketin luominen |
|
Herää LAN: lla (WOL) |
Tapahtumien havaitseminen |
|
Virtuaalikaapelin testaaja (VCT) |
Edistynyt virtuaalikaapelin testaaja diagnostiikan suhteen |
|
Automaattinen kalibrointi |
Mac -rajapinnan lähdöille |
|
Lämpötila -anturi |
Integroitu |
|
Jännitehuolto |
Yksi 3,3 V: n syöttö sisäisellä kytkentäsäätimellä
tukea |
|
I/O -jännitevaihtoehdot |
1,8 V, 2,5 V tai 3,3 V I/O -tyynyille |
|
Luokkavaihtoehdot |
Kaupalliset ja teollisuusluokat (88E1510 ja 88E1512
vain) |
|
Paketti |
- 48-nastainen QFN 7mm x 7mm vihreä EPAD: llä (88E1510 ja
88E1518) |
|
- 56-napainen QFN 8 mm x 8 mm vihreä EPAD: llä (88E1512/88E1514) |
88E1512 Ethernet PHY tarjoaa joustavan perustan nopeaan edistymiseen digitaalimaisemissa.Tämä komponentti valtaa gigabittijärjestelmiä eri aloilla, kuten yritys, sulautetut ratkaisut, kulutuselektroniikka- ja metro-/palveluverkot.
• Verkkoinfrastruktuurin parantaminen: Yritysverkoissa 88E1512 vahvistaa liitettävyyttä ja parantaa tiedonsiirtonopeuksia.Se kukoistaa ympäristöissä, jotka vaativat nopeaa ja saumattomia tiedonvaihtoa, kuten tietokeskuksia ja yritysverkkoja.
• Tietokeskuksen integrointi: Tietokeskukset hyötyvät 88E1512: n vakaasta suorituskyvystä ja nopeasta ominaisuudesta, mikä varmistaa tallennus- ja käsittelyyn tarvittavan sileän tiedonkulun.Se löytää harmonisen tasapainon nopeuden ja luotettavuuden välillä, ja siitä tulee avaintekijä nykyaikaisissa tietokeskuksen malleissa.
Sulautetuissa järjestelmissä komponentti mahdollistaa kompakti- ja tehokkaiden asettelut, jotka ovat vakavia Internet- ja automaatioon.Tämä integraatio edistää älykkäämpiä ja reagoivampia sovelluksia, ajoi innovaatioita älykkäissä kodin tekniikoissa ja teollisuusautomaatiossa.
88E1512 vastaa kuluttajalaitteiden nopean Internetin kysyntää.Äly -televisiot ja pelikonsolit, esimerkiksi hyödyntävät heidän kykyään suoratoisto- ja pelikokemuksiin, parantaen tyytyväisyyttäsi ja kilpailuetua.
• Yhteyden ylläpitäminen: Metroverkoissa ja palveluntarjoajien keskuudessa 88E1512 varmistaa vakaat ja johdonmukaiset yhteydet.Sen käyttöönotto antaa palveluntarjoajille mahdollisuuden toimittaa laadukasta Internet -yhteyksiä vähäisillä keskeytyksillä, mikä hyödyttää sekä yrityksiä että koteja.
• Verkon selkärangan parantaminen: Sen rooli metroverkoissa tukee luotettavaa infrastruktuuria, helpottaa tehokkaita viestintäkanavia ja majoittaa korkeat datakuormat.Se on tärkein kaupunkiviestintäverkkojen ylläpitämisessä, mikä varmistaa niiden tehokkuuden ja kestävyyden.
• 88E1512-A0-NNP2I000
• 88E1512-A0-NNP-2I000
• 88E1512-A0nnp2I000
• 88E1512A0nnp2I000


Marvell, joka tunnetaan työntävän kirjekuoren digitaalisessa säilytystilassa, rikkoo jatkuvasti uutta maata eri aloilla.Heidän edistyneillä puolijohderatkaisuilla on tärkeä rooli tiedonsiirtotutkimuksen tulevaisuuden määrittelyssä ja heillä on kauaskantoisia vaikutuksia yritys-, pilvi-, auto-, teollisuus- ja kuluttajamarkkinoille.Tämä kokonaisvaltainen strategia paljastaa heidän omistautumisensa tiedonhallinnan tehokkuuden ja skaalautuvuuden lisäämiseksi.
Sekä yritys- että pilviasetuksissa Marvell parantaa tiedonkulkua ja tallennustehokkuutta.Pilvipalvelun kasvava painotus vaatii vankkoja, skaalautuvia innovaatioita.Hyödyntämällä edistyneitä algoritmeja energiatehokkaiden mallien rinnalla Marvell käsittelee latenssihaasteita tarjoamalla saumattoman tiedon pääsyn vastaamaan nykyaikaisia yrityksille tarvittavia nopeusvaatimuksia.Auto- ja teollisuuskäyttöön Marvell tarjoaa kestäviä ratkaisuja, jotka on suunniteltu kestämään kovia olosuhteita.Heidän puolijohteensa tarjoavat luotettavia tietojenkäsittelyä - aktiivisia älykkäiden ajoneuvojen kehitys- ja valmistusautomaatioon.AI-ominaisuuksien sisällyttäminen tukee älykkäitä päätöksenteko- ja ennustavaa ylläpitoa, jota molemmat käytetään näiden sektoreiden muutoksiin.
Tässä on Marvell Semiconductor, Inc. 88E1512-A0-NNP2I000 Tekniset eritelmät ja ominaisuudet.
|
Tyyppi |
Parametri |
|
Tehtaan läpimenoaika |
16 viikkoa |
|
Asentaa |
Pintakori |
|
Asennustyyppi |
Pintakori |
|
Paketti / kotelo |
56-vfqfn paljaat tyyny |
|
Käyttötaso |
Teollisuusluokka |
|
Käyttölämpötila |
-40 ° C ~ 85 ° C (TA) |
|
Sarja |
Alaska® |
|
Julkaistu |
2011 |
|
Osien tila |
Aktiivinen |
|
Kosteuden herkkyystaso (MSL) |
3 (168 tuntia) |
|
Päätteiden lukumäärä |
56 |
|
Tyyppi |
Lähetin -vastaanotin |
|
Jännite - Syöttö |
1,71 V ~ 1,89 V, 2,38 V ~ 2,62 V, 3,14 V ~ 3,46 V |
|
Terminaalin sijainti |
Neli |
|
Terminaalimuoto |
Ei lyijyä |
|
Toimintojen lukumäärä |
1 |
|
Toimitusjännite |
3,3 V |
|
JESD-30-koodi |
S-XQCC-N56 |
|
Kanavien lukumäärä |
4 |
|
Rajapinta |
Ethernet |
|
Tiedonsiirto |
10Mbps, 100Mbps, 1 Gbps |
|
Protokolla |
IEEE 802.3, IEEE 1588 |
|
Kuljettajien/vastaanottimien lukumäärä |
4. huhtikuuta |
|
Dupleksi |
Täysi, puolet |
|
Lähetinvastaanottimien lukumäärä |
1 |
|
Simplex/duplex |
Dupleksi |
|
Max -risteyslämpötila (TJ) |
125 ° C |
|
Ympäristön lämpötila -alue korkea |
85 ° C |
|
Korkeus |
1 mm |
|
ROHS -tila |
ROHS |
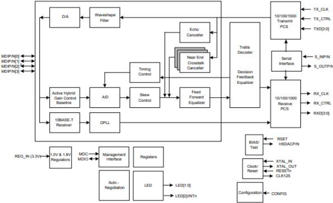
88E1512 -lähetin -vastaanotin on Suunniteltu monipuolisille verkon asetuksille, tukemaan viittä toimintatilaa sopiviksi erityistarpeet.RGMII, joka parantaa digitaalista viestintää Macin ja PHY: n välillä, tiedonsiirron virtaviivaistaminen ja suunnittelun vähentäminen Monimutkaisuus on ihanteellinen kupariliitäntöihin eri asennuksissa.Sgmii on kompakti protokolla, jolla on differentiaaliparit suurelle signaalin eheydelle ja matala tappi, tukevat kuparia ja kuituyhteyksiä, joita käytetään laajasti Matala teho ja sopeutumiskyky.RGMII to SgMII -siirtymistä Joustava yhteys mahdollistaa RGMII-to-SGMII -siirtymät kokoonpanolla Vaihtoehdot yhteensopivuuden varmistamiseksi eri asetusten välillä.Kupari ja kuitu Tuki SGMII -tukeminen sekä kuparia (kestävä, kustannustehokkaat) ja kuitu (nopea, pitkän matkan) yhteydet Automaattinen havaitseminen yksinkertaistetulle asennukselle.Kuitusiirtyminen (1000Base-X) helpottaa Saumattomat siirtymät kuparin ja kuitumoodien välillä, mukautettavissa asuinrakennuksiin ja kaupalliset ympäristöt latenssi- ja signaalivaatimusten perusteella.
Lähetin -vastaanottimessa on integroitu jännitesäädin, joka toimii sujuvasti 3,3 V: n virtalähteellä ja tukee useita LVCMOS -jännitteitä: 1,8 V, 2,5 V ja 3,3 V.Tämä sopeutumiskyky mahdollistaa saumattoman integroinnin järjestelmiin, joilla on erilaiset voimakehykset.Jännitistandardien tarkoituksellinen valinta vaikuttaa suoraan lämmönhallintaan ja voiman tehokkuuteen, ja sillä on merkittävä rooli tekniikan haasteissa.Osallistumalla näihin näkökohtiin voit vahvistaa suorituskyvyn pitkäikäisyyttä ja kestävää laitteen toimintaa.
Kompakti 56-nastainen QFN-pakkaus, lähetin-vastaanottimen mitat ovat 8 mm x 8 mm.Tätä mallia käytetään tilan maksimoimiseen tiheissä piirilevyissä, mikä tekee siitä sopivan tiheälle sovellukselle.Kun elektroniikka jatkaa suuntausta kohti pienempiä kokoja, kompaktien komponenttien valitseminen menettämättä toiminnallisuutta tulee yhä tärkeämmäksi.QFN -paketti ei vain paranna lämmön suorituskykyä, vaan myös vähentää jalanjälkeä, mikä vaikuttaa tuotteen monipuolisuuteen ja markkinoiden reagointiin suoraan.
Lähetä kysely, vastaamme heti.
29.10.2024
29.10.2024
17.04.8000 147713
17.04.2000 111722
17.04.1600 111322
17.04.0400 83606
01.01.1970 79258
01.01.1970 66775
01.01.1970 62946
01.01.1970 62820
01.01.1970 54028
01.01.1970 51987