

|
Nasta |
Nimi |
Funktio |
|
1 |
Avdd |
3,3 V: n analoginen tehon tulo analogisille piireille |
|
2 |
DM2 |
Alavirran 2 porttitiedot - |
|
3 |
DP2 |
Alavirran 2 porttitiedot + |
|
4 |
Rref |
Yhdistä 680OHMS -vastus RREF: n ja AGND: n välillä |
|
5 |
Avdd |
3,3 V: n analoginen tehon tulo analogisille piireille |
|
6 |
X1 |
12MHz: n oskillaattorin tulo |
|
7 |
X2 |
12MHz: n oskillaattorin tulo |
|
8 |
DM3 |
Alavirran 3 porttitiedot - |
|
9 |
DP3 |
Alavirran 3 porttitiedot + |
|
10 |
Avdd |
3,3 V: n analoginen tehon tulo analogisille piireille |
|
11 |
DM4 |
Alavirran 4 porttitiedot - |
|
12 |
DP4 |
Alavirran 4 porttitiedot + |
|
13 |
Nollata |
Aktiivinen matala ulkoinen nollaus |
|
14 |
Testi/SCL |
Chip on testitilassa, jos se on vedetty korkealle / I2C -kello
tulos |
|
15 |
Hölynpöly |
Pohja |
|
16 |
DVDD |
3.3 V digitaalinen virta
Taso |
|
17 |
Itseään |
0: GL850G on linja-autokäyttöinen, 1: GL850G on omavoimainen |
|
18 |
Pgang |
Yksilö / jengitila Valitse |
|
19 |
Ovcur2 |
Aktiivinen matala virran indikaattori |
|
20 |
Pwren2 |
Aktiivinen pieniteho käyttöönoton lähtö |
|
21 |
Ovcur1 |
Aktiivinen matala virran indikaattori |
|
22 |
Pwren1 |
Aktiivinen pieniteho käyttöönoton lähtö |
|
23 |
V5 |
5V - 3,3 V: n säätimen syöttö |
|
24 |
V33 |
3,3 V: n säätimen lähtö |
|
25 |
DM0 |
Ylävirran porttitiedot - |
|
26 |
DP0 |
Ylävirran porttitiedot + |
|
27 |
DM1 |
Alavirran 1 porttitiedot - |
|
28 |
DP1 |
Alavirran 1 porttitiedot + |
|
Ominaisuus |
Kuvaus |
|
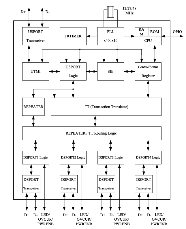
USB -eritelmä |
USB -eritelmien tarkistuksen 2.0 mukainen;taaksepäin
USB -eritelmän 1.1 yhteensopiva. |
|
Ylävirran satama |
Tukee sekä nopeaa (HS) että täyden nopeutta (FS)
liikenne. |
|
Alavirran portit |
Tukee HS-, FS- ja Hitaan (LS) liikennettä. |
|
Putket |
1 Ohjausputki (päätepiste 0, 64 tavun tietojen hyötykuorma);1
keskeytysputki (päätepiste 1, 1 tavun hyötykuorma). |
|
Mikroprosessori |
8-bittinen mikroprosessori RISC: n kaltaisella arkkitehtuurilla
ja USB-optimoitu käskyjoukko. |
|
Esitys |
6 MIPS @ 12 MHz. |
|
Muisti |
64 tavun RAM ja 4K Mask ROM. |
|
Räätälöity PID/vid |
Tuetaan ulkoisen EEPROM/SMBUS: n kautta. |
|
Alavirran portin kokoonpano |
Tuetaan ulkoisen EEPROM/SMBUS: n kautta. |
|
Yhden tapahtuman kääntäjä (STT) |
On sama TT -ohjauslogiikka kaikille alavirran portille
laitteet (kustannustehokas ratkaisu). |
|
Lähetin -vastaanottimen integraatio |
Integroi USB 2.0 -lähetin -vastaanottimen. |
|
Lähtöajurit |
Parannettu Slew-nopeudella EMI-vähentämistä varten. |
|
Virranhallinta |
Sisäänrakennettu 5 V-3,3 V: n säädin. |
|
Virranhalvaus |
Sisäinen voimankäyttö havaitsee ESD-palautuksen. |
|
Pull-up/pullistuen vastukset |
Sisäänrakennettu ylävirtaan 1,5 kΩ pull-up;alavirtaan 15 kΩ
vedä alas. |
|
PLL |
Sisäänrakennettu PLL tukee ulkoista 12 MHz: n kide/oskillaattori
Kellotulo. |
|
Sarjavastus |
Sulautettu sarjavastus USB -signaaleille. |
|
Pienitehotuki |
Tukee selektiivistä suspendia, LPM L1 (EEPROM: n kautta). |
|
Älykäs virtatila |
Tukee yksilö- ja jengin hallintamuotoja
ja ylivirtainen havaitseminen. |
|
Linja -autovoima |
Vastaa linja -autojen voimavaatimuksia;automaattinen kytkentä
Itsekäyttöisten ja linja-autojen käyttävien moodien välillä. |
|
Alavirran portin kokoonpanon joustavuus |
Konfiguroitu SMBUS/EEPROM: n kautta. |
|
Yhdistetty laitetuki |
Konfiguroitavissa I/O -vangitsemalla, SMBUS tai EEPROM. |
|
Saatavilla olevat paketit |
- 28-nastainen QFN (5x5 mm) |
|
- 28-nastainen SSOP (209 miljoonaa) |
|
|
- 24-napainen QFN (4x4 mm). |
Olla GL852G
Olla Fe1.1s
• PL2586


Kristallioskillaattorin ja USB -porttien lisäksi GL850G USB -keskittimen ohjain vaatii lähtökondensaattorin sen virtalähteen asianmukaisen suodattamisen ja vakauden varmistamiseksi.Lisäksi pull-up-vastukset ovat hyödyllisiä konfiguraatiotappien kannalta sopivien jännitteen tasojen ylläpitämiseksi ja luotettavan toiminnan mahdollistamiseksi.
GL850G osoittaa sopeutumiskyvyn monissa elektronisissa laitteissa, mukaan lukien erilliset USB -keskukset, tietokoneet, tablet -laitteet, emolevyt, telakointiasemat, pelikonsolit ja LCD -näytöt.Sen poikkeuksellinen tuki hienostuneille USB -toiminnoille rikastuttaa kokemustasi eri näkökohdissa.
GL850G: n sisällyttäminen USB Hubs -sovellukseen tarjoaa sinulle laajennetun yhteyden, varmistamalla sileän tiedonsiirron ja virrankulutuksen ja aterioiden halun vähentyneen kaapelin sotkuun ja tehostetun työtilan tehokkuuden suhteen.Tällaisen tekniikan integrointi päivittäisiin ympäristöihin merkitsee siirtymistä kohti ergonomisempia ja virtaviivaisempia asetuksia.
Tietokoneiden ja tablet-laitteiden osalta GL850G-siru optimoi tiedonsiirtonopeudet parantaen laitteen suorituskykyä vaativissa sovelluksissa ja data-raskissa tehtävissä.Tällainen integraatio vaalii parempaa monitehtävää ja toiminnan tehokkuutta.Voit usein huomata, että pienet parannukset tiedonsiirrossa voivat vaikuttaa suuresti heidän kokemukseensa ja tyytyväisyyteen.
Emolevyihin levitettäessä GL850G-piirisarjan hienosäätöviestintä komponenttien keskuudessa lisää järjestelmän reaktiivisuutta ja tehokkuutta.Tämä optimointi tukee sinua korkean suorituskyvyn toiminnan ylläpitämisessä, mikä hyödyttää sekä henkilökohtaista käyttöä että ammatillista ympäristöä, jossa luotettava suorituskyky on erittäin arvostettu.
Telakointiasemilla GL850G: llä on aktiivinen rooli yhteyden laajentamisessa ja samanaikaisten perifeeristen yhteyksien mahdollistamisessa.Tämä innovaatio käsittelee joustavien työtilojen tarvetta yhdistämällä tehokkaasti kannettavat laitteet kattaviin työpöytäkokoonpanoihin.
Piirisarjan hyödyntäminen pelikonsoleissa varmistaa nesteen tiedonvaihdon ja oheislaitteen tuen rikastuttamalla sitoutumistasi.Tämä keskittyminen suorituskykyyn kohdistuu kuluttajien odotusten kanssa saumattomista peliseikkailuista, joissa jopa pienillä parannuksilla voi olla huomattava vaikutus.
GL850G: n integraatio LCD -tarkkailijoihin helpottaa USB -porttien tehokasta toimintaa, edistämällä puhdistusaineiden asetuksia ja poistamalla ylimääräisten adapterien välttämättömyyden.Nämä edistykset ovat sopusoinnussa syvemmän tietoisuuden kanssa siitä, kuinka visuaalinen selkeys ja yhteydet lisäävät tuottavuutta ja tyytyväisyyttä.

Lähetä kysely, vastaamme heti.
17.12.2024
17.12.2024
18.04.8000 147757
18.04.2000 111935
18.04.1600 111349
18.04.0400 83719
01.01.1970 79508
01.01.1970 66901
01.01.1970 63018
01.01.1970 63010
01.01.1970 54081
01.01.1970 52121